首页
关于吉祥
集团介绍
总裁致辞
组织机构
企业文化
科研开发
厂区环境
回报社会
管理培训
产品检测
先进设备
集团介绍
tvt体育是一家集工业、贸易、科研、投资、服务于·体的多元化集团公司。公司专业从事高新科技内外墙建筑装潢材料的研发、生产、贸易和服务,拥有雄厚的技术力量、精湛的生产工艺、先进的检测设备、科学的管理体系和完善的客户服务体系。公司现拥有中、高级专业技术人员和管理人员150多人,拥有大型铝塑复合板流水线和金属复合板流水线及全自动涂铝生产线二十多条,其中2米宽A2级金属和塑复合生产线、2米宽金属蜂窝及瓦楞连续生产线、1.6米宽涂装厚度1.2mm铝镁锰金属屋面板辊涂生产线、两台宽2.3米长12米金属蜂窝热压线均达到国际顶尖水平
更多
嘉兴生产基地
上海总部
资质认证
公司荣誉
幕墙用铝塑板检测报告
装饰用铝塑板检测报告
铝单板检测报告
铝蜂窝板检测报告
铝天花检测报告
集团产品
铝塑板
铝单板
金属复合板
金属塑复合板
金属蜂窝板
金属铝波纹芯复合板
铜 钢 钛 锌复合板
铝塑板新应用
防火铝塑板
彩涂铝卷
铝板带开平
熔喷布
铝塑板简介
色卡型号
保护膜图
宣传样板
产品规格
凹凸纹铝塑板
铝塑板常识
纳米铝塑复合板
广告板
样板工程
铝塑板案例
铝单板案例
案例列表
铝塑板新应用
吉祥鉴识
客服中心
国内营销
国外营销
国标下载
检测下载
资质下载
在线订单
客户反馈
联系方式
联系方式
上海总部地址:
上海市松江石湖荡工业区塔汇路505号
嘉兴生产基地:
浙江省嘉兴市南湖区新大路2355号
全国免费热线:
400-7767-888
电话:
0573-83133333
传真:
0573-82586888
Email:
wykj@wykj.org
邮政编码:
201617
上海总部
嘉兴生成基地
400-7767-888
EN
首页
>
集团产品
>
使用规范
铝塑板
铝单板
金属复合板
金属塑复合板
金属蜂窝板
金属铝波纹芯复合板
铜 钢 钛 锌复合板
铝塑板新应用
防火铝塑板
彩涂铝卷
铝板带开平
熔喷布
铝塑板简介
色卡型号
普通色系
石纹系
木纹系
闪珠系
镜面系
拉丝系
金属系
高光系
名贵石纹
名贵木纹
保护膜图
宣传样板
产品规格
凹凸纹铝塑板
铝塑板常识
产品简介
应用领域
产品特点
产品结构
使用规范
工艺流程
施工方法
动画演示
纳米铝塑复合板
广告板
铝塑板是易加工、成、组装的好材料,更是为追求效率,争取时间的优良产品,它能缩短工期,降低成本。一般的板金厂或木工厂的设备即能轻易完成其加工组装工作,铝塑板可以:
1、切割、剪裁、开槽、竖据、锁孔、加工埋头.
2、冷弯、冷轧、冷折。
3、铆接、螺丝结合、焊接、夹压法或胶合粘结。
4、喷漆、网板印刷、标志板和广告招牌帖字板。
地缘水平面施工法
一般固定方式
窗缘施工法
圆柱施工法
骨架施工法
混凝土墙施工法
挂吊施工法
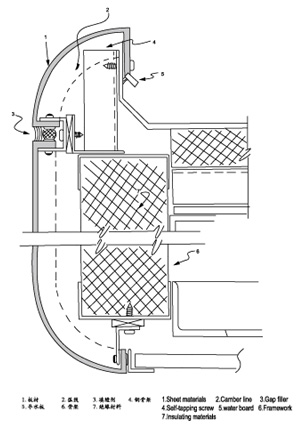
窗缘弧形施工法
一般施工法
骨架施工法
角柱施工法
返回顶部
400-7767-888
在线咨询
微信二维码